聯系電話如果您正在尋找相關產品或有其他任何問題,可隨時撥打我公司銷售熱線:400-8789-055
在線咨詢上部卸油工藝流程
上部卸油--是通過鶴管從油罐車上部用泵或虹吸自流的方法將油卸車。
------這是我國鐵路卸油廣泛采用的方法。
流程: 泵卸油 、虹吸自流。
1、泵卸油流程:

鶴管裝車流程圖
設備介紹及表達方式;流程及管網的連接—詳講;此圖工藝上存在的問題?
輕油裝卸系統簡圖
1-鶴管;2-集油管;3-輸油管;4-輸油泵;5-真空泵;6-放空罐;7-真空罐;8-零位油罐;9-真空管;10-掃艙總管;11-掃艙短管
泵卸油流程的三大系統:
輸油系統的作用:輸轉油罐車與儲油罐內的油品。
設備:鶴管、集油管、輸油管和輸油泵等。
真空系統的作用:填充鶴管的虹吸和收凈油罐車底油。設備:真空泵、真空罐、真空管線和掃艙短管等。
放空系統的作用:裝卸完畢后,將管線中的油品放空,以免下次輸送其它油品時造成混油現象或易凝油品凍結于管線中。
設備:放空罐和放空管線。
存在的問題:
從油罐車內卸出的油品可直接泵送至儲油罐,不經過零位罐,減少了油品損耗。必須設置高大的鶴管、棧橋和真空系統等,設備多、操作復雜,并往往形成氣阻(?),影響正常卸油。
適用場合:平原大型油庫
2、自流卸油流程:

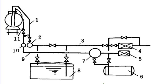
自流卸油流程
1-鶴管;2-真空管;3-集油管;4-真空罐;5-抽底油管;6-零位油罐;7-離心泵;8-儲油區
當油罐車高于零位油罐并具有足夠的位差時,即可采用虹吸自流卸油。鶴管必須具有抽真空或填充油料的設備。虹吸自流卸油的優點:不受泵和動力的影響。缺點:卸油后,多一次輸轉,增加了油品的蒸發損耗。
自流裝車流程:
凡地形高差可以利用并具備自流裝車條件的油庫,應盡量采用自流裝車。
3、下部卸油流程:

鶴管廠家深奧圖
1-油罐車下卸器;2-軟管;3-集油管;4-油泵
設備:油罐車下卸器、輸油管路等組成。罐車下卸器與集油管的連接方式:是橡膠管或鋁制卸油臂完成的。優點:采用下部卸油,克服了上部卸油的全部缺點,地面建筑少,有利于對空隱蔽和操作。











































